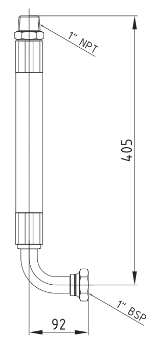
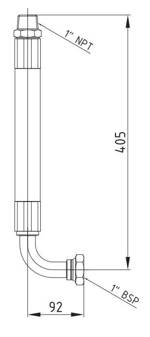
Рукав высокого давления разгрузочный NVC DN25
Рукав высокого давления предназначен для соединения модулей типа МПА-NVC1230 (8,16,32л) с трубопроводом. (402017)
Производитель: Спецавтоматика АО
- Код:
 - 00012433
 - Базовая единица
 - шт
 
Данная модель является проектным оборудованием, цены по запросу.
                        						Рукав высокого давления предназначен для соединения модулей типа МПА-NVC1230 (8,16,32л) с трубопроводом.
Технические характеристики
| Код оборудования | Наименование | Технические характеристики | Масса, кг | |||
| 
		 Рабочее давление, бар  | 
	
		 Пробное давление, бар  | 
	
		 Температурный диапазон,°С  | 
	Радиус изгиба,мм | |||
| 402017 | РВД NVC DN25 | 50 | 132 | от - 20 до +50 | 300 | 1,25 | 

									
									