Кронштейн баллона NVC 8/16/32л
Кронштейн баллона предназначен для надежного крепления баллона к стене или опорной конструкции (402033)
Производитель: Спецавтоматика АО
- Код:
- 00012448
- Базовая единица
- шт
- Доступность:
- заказная
Данная модель является проектным оборудованием, цены по запросу.
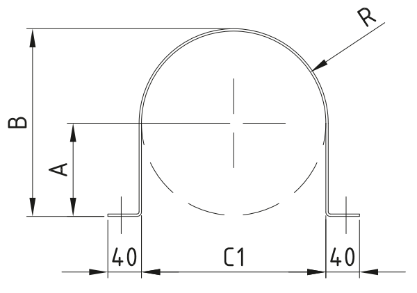
Кронштейн баллона предназначен для надежного крепления баллона к стене или опорной конструкции. Для крепления одного модуля необходим один кронштейн. Анкерные болты в комплект поставки не входят и заказываются отдельно
Материал: Сталь 3 ГОСТ 14637-79 Цвет: красный
Технические характеристики
| Код оборудования | Наименование | Вместимость баллона, л | Высота от пола до хомута, мм | Размеры, мм | Мас са, кг - | ||||
| А | B | C | C1 | R | |||||
| 402033 |
Кронштейн баллона NVC 8/16/32л |
8 16 32 |
130 330 595 |
122 | 254 | 338 | 258 | 129 | 0,45 |

