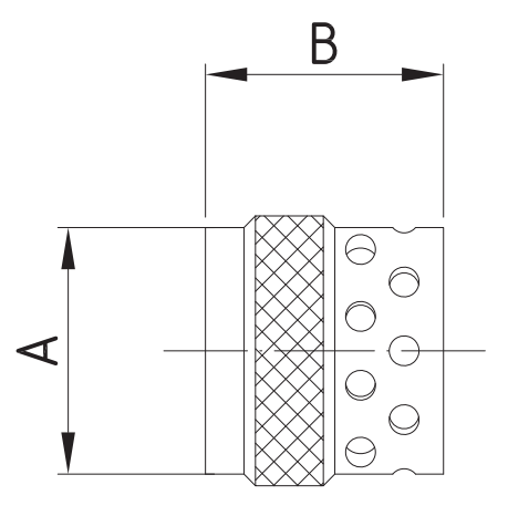
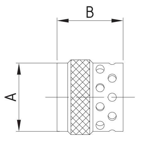
Насадок NVC DN50 (2"), алюминий
Насадок предназначен для равномерного распределения струй ГОТВ в защищаемом помещении (402048)
Производитель: Спецавтоматика АО
- Код:
- 00016378
- Базовая единица
- шт
- Доступность:
- заказная
Данная модель является проектным оборудованием, цены по запросу.
Насадок предназначен для равномерного распределения струй ГОТВ в защищаемом помещении.
Технические характеристики
| Код оборудования | Наименование | Размеры, мм | Масса,кг | ||
| DN | A | B | |||
| 402048 | Насадок NVC DN50(2’’) | 50 | 83,0 | 89,0 | 0,83 |

