ШТС 48
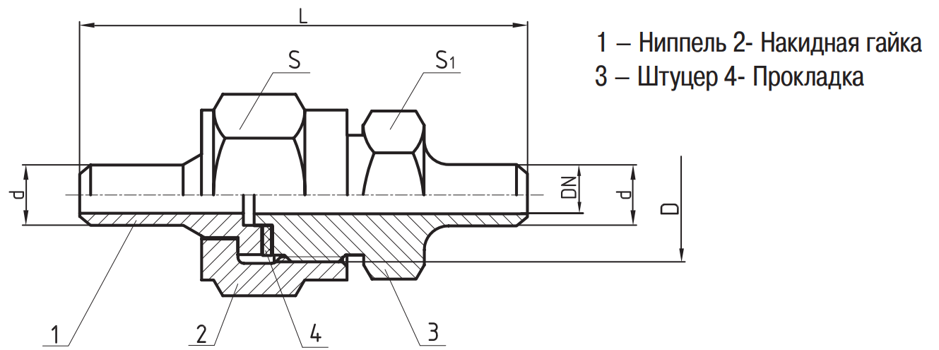
Штуцерно-торцевое соединение предназначено для монтажа элементов трубопроводов установки газового пожаротушения, в тех случаях, когда на объекте не допускается проводить сварочные работы (222003)
Производитель: Спецавтоматика АО
- Код:
 - 00029823
 - Базовая единица
 - шт
 
Данная модель является проектным оборудованием, цены по запросу.
                        						Штуцерно-торцевое соединение предназначено для монтажа элементов трубопроводов установки газового пожаротушения, в тех случаях, когда на объекте не допускается проводить сварочные работы.
	 Материал: Сталь 20 ГОСТ 1050
Технические характеристики
| Код оборудования | Наименование | Размеры | Масса, кг | |||||
| Dн труб | D | L | DN | S1 | S2 | |||
| 222003 | Штуцерно-торцевое соединение ШТС48 | 48 | М64х2 | 149 | 41 | 75 | 65 | 2,4 | 

									
									