Ручной привод (локальный) NVC
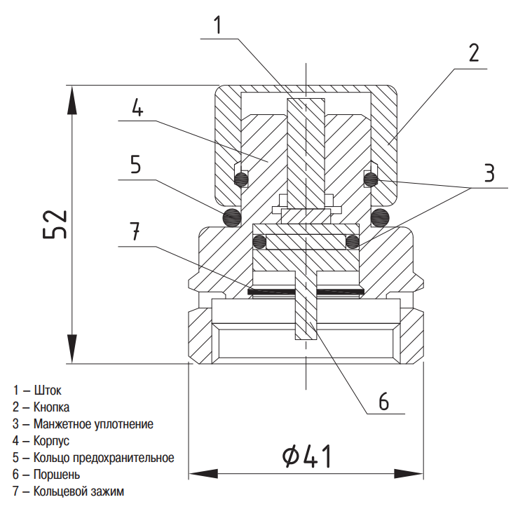
Устройство предназначено для активирования запорно-пускового устройства модуля нажатием руки на кнопку устройства ручного¶привода. Для предотвращения случайного нажатия предусмотрено кольцо предохранительное. (402022)
Производитель: Спецавтоматика АО
- Код:
 - 00032893
 - Базовая единица
 - шт
 
Данная модель является проектным оборудованием, цены по запросу.
                        						Устройство предназначено для активирования запорно-пускового устройства модуля нажатием руки на кнопку устройства ручного привода. Для предотвращения случайного нажатия предусмотрено кольцо предохранительное.
Технические характеристики
| Код оборудования | Наименование | Параметры электротехнического пуска | Масса, кг | ||
| 
		 Номинальный ход штока, мм  | 
	
		 Температурный диапазон, 0С  | 
	
		 Усилие нажа тия, Н  | 
|||
| 402022 | 
		 Ручной привод локальный), NVC  | 
	6,0 | От минус 20 до 50 | 25,5 | 0,26 | 

									
									