Насадок NVC DN25 (1"), алюминий
Насадок предназначен для равномерного распределения струй ГОТВ в защищаемом помещении (402042)
Производитель: Спецавтоматика АО
- Код:
- 00032894
- Базовая единица
- шт
- Доступность:
- заказная
Данная модель является проектным оборудованием, цены по запросу.
Насадок предназначен для равномерного распределения струй ГОТВ в защищаемом помещении.
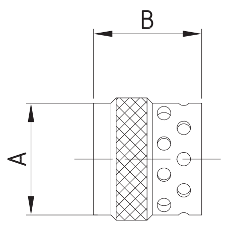
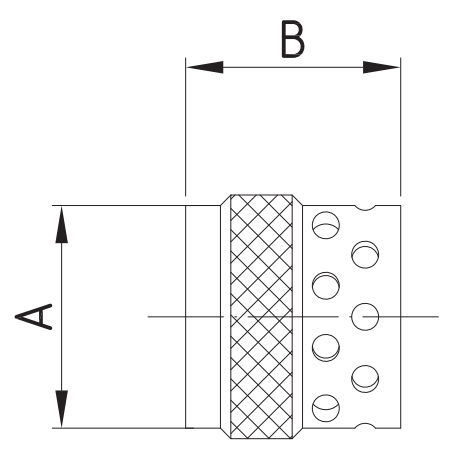
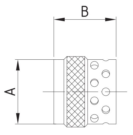
Технические характеристики
| Код оборудования | Наименование | Размеры, мм | Масса,кг | ||
| DN | A | B | |||
| 402042 | Насадок NVC DN25(1’’) | 25 | 56,2 | 52,0 | 0,26 |

