ШТС 22
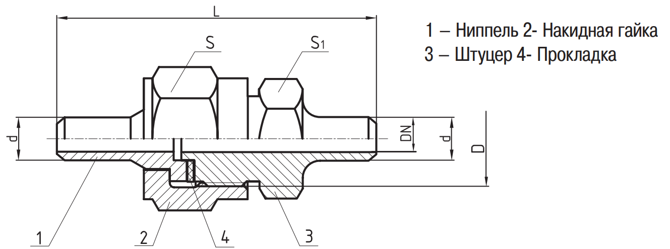
Штуцерно-торцевое соединение предназначено для монтажа элементов трубопроводов установки газового пожаротушения, в тех случаях, когда на объекте не допускается проводить сварочные работы (222004)
Производитель: Спецавтоматика АО
- Код:
 - 00032904
 - Базовая единица
 - шт
 
Данная модель является проектным оборудованием, цены по запросу.
                        						Штуцерно-торцевое соединение предназначено для монтажа элементов трубопроводов установки газового пожаротушения, в тех случаях, когда на объекте не допускается проводить сварочные работы.
	 Материал: Сталь 20 ГОСТ 1050
Технические характеристики
| Код оборудования | Наименование | Размеры | Масса, кг | |||||
| Dн труб | D | L | DN | S1 | S2 | |||
| 222004 | Штуцерно-торцевое соединение ШТС22 | 22 | М36х2 | 105 | 16 | 46 | 41 | 0,57 | 

									
									