ИП-535-50А (Пластиковый ввод 6-12 мм)
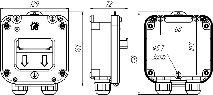
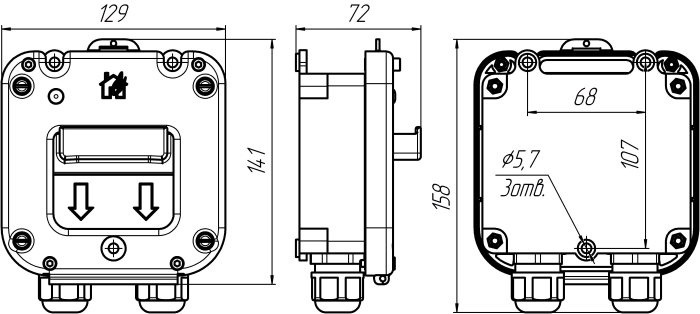
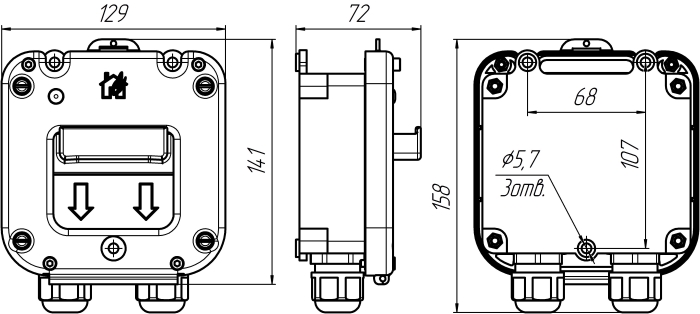
Извещатель пожарный ручной, светов.индикация; U-пит.9...30В, I-потр.30мкА; IP66, tраб.-55...+60°С, 129х158х72 мм. Пластиковый ввод 6-12 мм. IP 66/67
Производитель: Магнито-Контакт
- Код:
- 00033319
- Артикул
- 09-0004-0001
- Базовая единица
- шт
- Доступность:
- заказная
Описание
Извещатель пожарный ручной ИП 535–50 «СЕВЕР» предназначен для ручного включения сигнала тревоги на приемно-контрольном приборе (далее ПКП), используется на улице под навесом (типа козырек), а также в помещениях зданий и сооружений различного назначения.
- Степень защиты оболочки извещателя по ГОСТ 14254-2015: IP66/IP67.
- Извещатель пожарный ручной ИП 535–50 имеет сухие контакты, предназначенные для подключения других устройств пожарной автоматики.
- Извещатель предназначен для подключения в двухпроводный шлейф любых ПКП.
- Извещатель ИП 535–50 «СЕВЕР» может включаться в шлейф ПКП одновременно с другими двухпроводными извещателями
- Извещатель питается от шлейфа ПКП.
- Извещатель рассчитан на непрерывную круглосуточную работу.
Описание работы извещателя
Извещатель выполнен в корпусе из АБС-пластика. Приводится в действие опусканием вниз в направлении стрелок приводного элемента (ручки) (ИП535–50А). Не более чем через 4 секунды извещатель перейдет в режим тревоги с постоянным свечением красного индикаторного светодиода и передаст сигнал тревоги на ПКП.
Для возврата в дежурный режим необходимо вернуть приводной элемент в исходное положение (путем выкручивания/ослабления фиксирующего винта с помощью специального инструмента, входящего в комплект) и сбросить сигнал тревоги на ПКП.
При переходе извещателя в режим тревоги увеличивается его потребление тока от шлейфа ПКП, где происходит регистрация сигнала тревоги, сопровождающаяся звуковой, световой или символьной индикацией в зависимости от типа используемого ПКП.
Технические характеристики
| Напряжение питания | 9-30 В; |
| Потребляемый ток в дежурном режиме | до 50 мкА (зависит от напряжения питания); |
| Ток потребления в режиме «Пожар»: |
10+-2 мА (при 9В питания), 19+-2 мА (при 20В питания), 25+-2 мА (при 30В питания); |
| Коммутируемые: |
мощность 1,5 Вт; напряжение 30 В, ток 0,2 А / мощность 30 Вт; напряжение 125 В, ток 1 А; |
| Диапазон рабочих температур: | -55°С ... + 60°С; |
| Максимально допустимая относительная влажность окружающей среды | 98%; |
| Габаритные размеры | 129 x 158 x 72 мм; |
| Масса извещателя | не более 0,5 кг; |
| Степень зашиты корпуса: | IP66/IP67 по ГОСТ 14254-2015; |

