ИО-102-54
Извещатель охранный точечный магнитоконтактный, для наружной установки
Производитель: Магнито-Контакт
- Код:
- 00034406
- Артикул
- 03-0001-0000
- Базовая единица
- шт
- В наличии:
- 4
Общие сведения
Извещатель охранный точечный магнитоконтактный ИО 102-54 предназначен для блокировки дверных и оконных проемов, организации устройств типа «ловушка», а также блокировки других конструктивных элементов зданий и сооружений на открывание или смещение с выдачей извещения о тревоге на пульт централизованного наблюдения, прибор приёмно-контрольный или концентратор размыканием шлейфа сигнализации контактами встроенного геркона.
- Извещатель предназначен для открытой установки на поверхности охраняемой конструкции.
- Из магнитоуправляемого датчика выведены два многожильных провода длиной 0,2 м для подключения извещателя в ШС. Полярность подключения извещателей к ШС значения не имеет.
- Вид климатического исполнения извещателя 02 по ГОСТ 15150, но в диапазоне рабочих температур от минус 50 до плюс 50°С.
- Извещатель сохраняет работоспособность при повышенной температуре до плюс 50°С и пониженной до минус 50°С температуре окружающего воздуха, а так же его относительной влажности до 98 % при температуре +35°С без конденсации влаги.
- Извещатель рассчитан на непрерывную круглосуточную работу.
- Извещатель не содержит драгоценных металлов (п.1.2 ГОСТ 2.608-78).
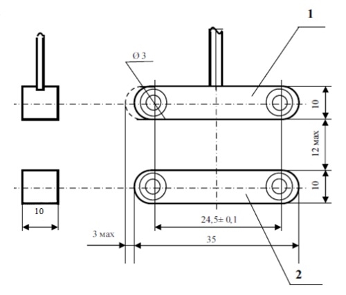
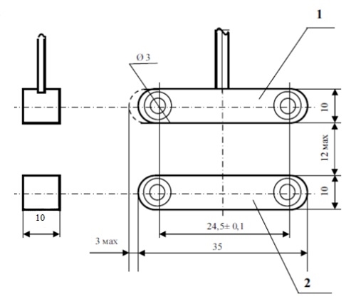
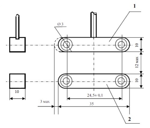
Извещатель конструктивно состоят из двух блоков: исполнительного (магнитоуправляемого датчика) и задающего (управляющего магнита), заключенных в пластиковые корпуса по форме близкой к прямоугольной.
При расположении исполнительного и задающего блоков извещателя на расстоянии между ними 15 мм и менее контакты исполнительного блока находятся в замкнутом состоянии. Данное расстояние определяет границу диапазона значений рабочего зазора между указанными блоками, в соответствии с которым осуществляется их установка на охраняемой конструкции.
При расположении блоков извещателя на расстоянии между ними 45 мм и более контакты исполнительного блока находятся в разомкнутом состоянии. Данное расстояние определяет расстояние срабатывания извещателя – минимальное расстояние между блоками извещателя, при котором гарантируется формирование извещения о тревоге. Указанные расстояния измеряются между наибольшими боковыми сторонами блоков извещателя при максимальном допуске смещения блоков извещателя друг относительно друга вдоль наибольшей стороны – 3 мм.
Технические характеристики
|
Число срабатываний извещателя в режиме коммутации постоянного тока в диапазоне от 0,01 А до 0,05 А напряжений от 10 В до 50 В должно быть |
не менее 106 при максимальной мощности 10 Вт. |
|
Выходное электрическое сопротивление извещателя при замкнутых контактах при разомкнутых контактах. |
не более 0,5 Ом менее 100 кОм |
| Минимальное значение силы постоянного или переменного тока | 0,001 А. |
| Максимальное значение силы постоянного или переменного тока | 0,5 А. |
| Минимальное значение коммутируемого напряжения | 0,02 В. |
| Максимальное значение коммутируемого напряжения постоянного тока | 72 В. |
| Максимальное значение коммутируемой мощности | 10 Вт. |
| Срок службы извещателя | не менее 8 лет. |
| Конструкция извещателя обеспечивает степень защиты оболочки по ГОСТ 14254-2015. | IP44 |
|
Масса извещателя: датчика магнита |
не более 4 г не более 6,5 г. |

