ТГБ-4М Ex IIC
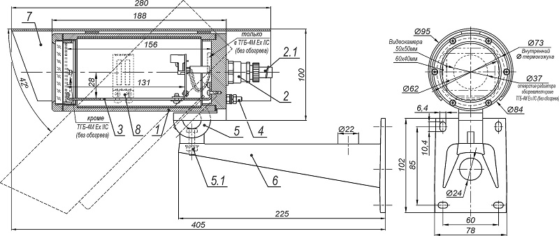
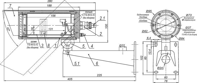
Термокожух взрывозащищенный без обогрева для видеокамеры. Класс взрывозащиты 1Ex db IIC T6 Gb X / Ex tb IIIC T80°C Db X. Степень защиты IP66/IP68. Рабочий объем 50х50х131 мм. Напряжение питания 250VAC. Диапазон рабочих температур -60° ÷ +50°C.
Производитель: Тахион
- Код:
- 00044068
- Бренд:
- Тахион
- Артикул
- 10121
- Базовая единица
- шт
Термокожух ТГБ-4M Ex IIC (без обогрева) предназначен для установки сетевых (IP) и аналоговых видеокамер с объективами, ИК прожекторов и другого электронного оборудования и защиты его от воздействия окружающей среды (влаги, пыли и отрицательных температур). Место установки: наружные пространства и внутренние пространства помещений, классифицированные как взрывоопасные зоны классов 1, 2, 21 и 22 (при классификации по зональному принципу), где возможно образование взрывоопасной смеси группы I и взрывоопасных газовых смесей подгрупп IIА, IIВ, IIC, пылевых сред подгрупп IIIА, IIIВ, IIIC, температурных классов Т1-Т6 или взрывоопасные зоны класса В-I, В-Iа, В-Iб, В-Iг, согласно главе 7.3 «Правил устройства электроустановок» (ПУЭ).
- Выполнен в виде взрывонепроницаемой оболочки по ГОСТ 31610.0 (IEC 60079-0), ГОСТ IEC 60079-1, ГОСТ IEC 60079-31
- С маркировкой взрывозащиты 1Ex db IIC T6 Gb X / Ex tb IIIC T80°C Db X
- Со степенью защиты IP66/IP68, обеспечиваемой оболочкой
- Смотровое окно выполнено из ударопрочного закалённого стекла.
- Термокожух выпускается по техническим условиям ТУ 26.30.50-081-31006686-2019.
Термокожух обеспечивает:
- отключение питания термокожуха при повышении температуры внутри его выше +70°С (из-за климатических факторов - в летний период) и восстановление питания после понижения температуры ниже +60°С;
- автоматическое включение/отключение встроенного обогревателя в заданном диапазоне температур.
Термокожух соответствует:
- техническим требованиям – ГОСТ Р 51558;
- требованиям безопасности – ГОСТ Р МЭК 60065;
- требованиям по ЭМС – ГОСТ Р 50009, ГОСТ 30804.3.2, ГОСТ 30804.3.3;
- степени защиты от поражения электрическим током по ГОСТ 12.2.007.0 – I или III классу (в зависимости от устанавливаемого электронного оборудования).
- климатическому исполнению – УХЛ1, 5 по ГОСТ 15150;
- степени защиты – IP66/IP68 по ГОСТ 14254.
Технические характеристики:
| Напряжение питания, В |
250 AC max 110 DC max |
| Напряжение / ток внутреннего источника питания, В DC / А | – |
| Температура вкл./откл. обогрева, °С | – |
| Мощность обогрева, Вт | – |
| Максимальная потребляемая мощность / ток (включая видеокамеру), Вт / А |
24 / 0,1 (при 250 В) 24 / 0,2 (при 110 В) |
| Диапазон температуры окружающей среды при эксплуатации, °С | -60 … +50 |
| Температура вкл./откл. холодного запуска, °С | – |
| Влажность воздуха при +25 °С, % | до 100 |
| Устойчивость к несанкционированным действиям (НСД) | II (средняя) по ГОСТ Р 51558 |
| Устойчивость к низким температурам | III (высокая) по ГОСТ Р 51558 |
| Устойчивость к внешним воздействиям | III (высокая) по ГОСТ Р 51558 |
| Степень защиты оболочки | IP66/IP68 по ГОСТ 14254 |
| Материал корпуса | сплав алюминиевый, покрытие – краска порошковая RAL9002 |
| Габаритные размеры | см. рисунок |
| Масса с упаковкой, кг, не более | 3,0 |
| Режим работы | Круглосуточный |

