ТГБ-4М Ex IIC-24/12
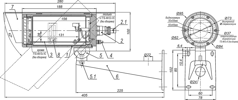
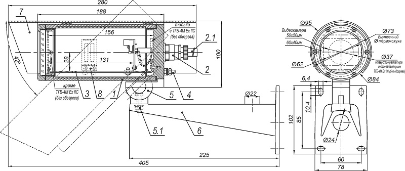
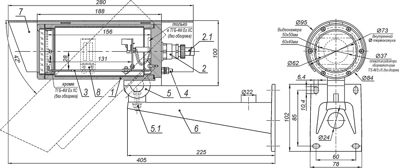
Термокожух взрывозащищенный для видеокамеры. Класс взрывозащиты 1Ex db IIC T6 Gb X / Ex tb IIIC T80°C Db X. Степень защиты IP66/IP68. Рабочий объем 50х50х131 мм. Габариты, мм: Lнар. 280, øнар. 95. Напряжение питания термокожуха 24VDC. Напряжение питания видеокамеры 12VDC. Мощность обогрева 11 Вт. Диапазон рабочих температур -60° ÷ +50°C.
Производитель: Тахион
- Код:
- 00044070
- Бренд:
- Тахион
- Артикул
- 10114
- Базовая единица
- шт
Термокожух взрывозащищенный ТГБ-4М Ex IIC-24/12 предназначен для установки сетевых (IP) и аналоговых видеокамер с объективами, ИК прожекторов и другого электронного оборудования и защиты их от воздействия окружающей среды (влаги, пыли и отрицательных температур). Место установки: наружные пространства и внутренние пространства помещений, классифицированные как взрывоопасные зоны классов 1, 2, 21 и 22 (при классификации по зональному принципу), где возможно образование взрывоопасной смеси группы I и взрывоопасных газовых смесей подгрупп IIА, IIВ, IIC, пылевых сред подгрупп IIIА, IIIВ, IIIC, температурных классов Т1-Т6 или взрывоопасные зоны класса В-I, В-Iа, В-Iб, В-Iг, согласно главе 7.3 «Правил устройства электроустановок» (ПУЭ).
- Выполнен в виде взрывонепроницаемой оболочки по ГОСТ 31610.0 (IEC 60079), ГОСТ IEC 60079-1, ГОСТ IEC 60079-31
- С маркировкой взрывозащиты 1Ex db IIC T6 Gb X / Ex tb IIIC T80°C Db X
- Со степенью защиты обеспечиваемой оболочкой – IP66/IP68
- Смотровое окно выполнено из ударопрочного закалённого стекла.
- Термокожух выпускается по техническим условиям ТУ 26.30.50-081-31006686-2019.
Термокожух обеспечивает:
- автоматическое включение/отключение встроенного обогревателя в заданном диапазоне температур;
- отключение питания термокожуха при повышении температуры внутри его выше +70°С (из-за климатических факторов - в летний период) и восстановление питания после понижения температуры ниже +60°С;
- преобразование ряда входных напряжений в стандартный ряд напряжений питания видеокамер.
Термокожух соответствует:
- техническим требованиям – ГОСТ Р 51558;
- требованиям по безопасности – ГОСТ Р МЭК 60065;
- требованиям по ЭМС – ГОСТ Р 50009, ГОСТ 30804.3.2, ГОСТ 30804.3.3;
- степени защиты от поражения электрическим током – III классу по ГОСТ 12.2.007.0;
- климатическому исполнению - УХЛ1, 5 по ГОСТ 15150;
- степени защиты – IP66/IP68 по ГОСТ 14254.
Технические характеристики:
| Напряжение питания, В | 24 DC |
| Напряжение / ток внутреннего источника питания, В DC / А |
12 / 0,35 |
| Температура вкл./откл. обогрева, °С |
+15 / +20 |
| Мощность обогрева, Вт | 11 |
| Максимальная потребляемая мощность / ток (включая видеокамеру), Вт / А | 20 / 0,9 |
| Диапазон температуры окружающей среды при эксплуатации, °С | -60 … +50 |
| Температура вкл./откл. холодного запуска, °С |
-10 / -15 |
| Влажность воздуха при +25 °С, % | до 100 |
| Устойчивость к несанкционированным действиям (НСД) | II (средняя) по ГОСТ Р 51558 |
| Устойчивость к низким температурам | III (высокая) по ГОСТ Р 51558 |
| Устойчивость к внешним воздействиям | III (высокая) по ГОСТ Р 51558 |
| Степень защиты оболочки | IP66/IP68 по ГОСТ 14254 |
| Материал корпуса | сплав алюминиевый, покрытие – краска порошковая RAL9002 |
| Габаритные размеры | см. рисунок |
| Масса с упаковкой, кг, не более | 3,0 |
| Режим работы | Круглосуточный |

