ТГБ-7 ТВ-24/12
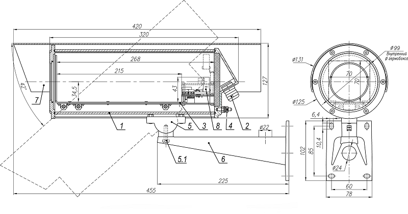
Термокожух для тепловизора. IP66/IP68. Рабочий объем 70х70х215 мм. 24В DC/AC. Напряжение питания тепловизора 12В DC или 24В DC/AC. Мощность обогрева 31/21 Вт. -60°С/-40°С…+50°C. Холодный пуск. Два гермоввода 6-10мм.
Производитель: Тахион
- Код:
- 00044578
- Артикул
- 01020
- Базовая единица
- шт
Термокожух ТГБ-7 ТВ-24/12 предназначен для установки видеокамеры тепловизионной (тепловизора) с объективом и защиты их от воздействия окружающей среды (влаги и отрицательных температур)
Изделие обеспечивает
- автоматическое включение/отключение встроенного обогревателя в заданном диапазоне температур;
- преобразование ряда входных напряжений в стандартный ряд напряжений питания видеокамер;
- безаварийное включение электропитания видеокамеры при отрицательной температуре внутри термокожуха, обеспечивая надежную работу видеокамеры при перерывах в электропитании и исключая выход видеокамеры из строя при запуске;
- две ступени мощности обогрева, что позволяет использовать термокожух в разных климатических зонах в соответствии с ГОСТ 15150-69;
Трмокожух соответствует
- техническим требованиям - ГОСТ Р 51558-2008;
- требованиям по безопасности – ГОСТ Р МЭК 60065-2005;
- требованиям по ЭМС – ГОСТ Р 50009-2000, ГОСТ Р 51317.3.2-99, ГОСТ Р 51317.3.3-99;
- степени защиты от поражения электрическим током – I классу ГОСТ 12.2.007.0-75;
- условиям эксплуатации – ГОСТ 12997-84 группам Д3, Р1 и N2.
Модуль видеокамеры изолирован от корпуса термокожуха.
Изделие выпускается по техническим условиям ТУ 26.30.50-077-31006686-2017.
Климатическое исполнение термокожуха соответствует УХЛ1,5 ГОСТ 15150-69.
Степень защиты IP66/IP67.
Технические характеристики
| Характеристика | Значение |
|---|---|
| Стекло |
Материал Ge (ГМО 5-40 Ом х см); чистая апертура 90%; качествополировки 60/40 scr/dig; покрытие DLC/BBAR @ 7-14 мкм |
| Напряжение питания |
24 В DC |
| Напряжение/ток внутреннего источника питания |
12 В DC / 1,5 А 24 В DC / 0,75 А |
| Мощность обогрева | 31 Вт / 21 Вт |
| Максимальный потребляемый ток (включая видеокамеру) | 2,2 А / 1,8 А |
| Диапазон рабочих температур | – 60 °С / – 40 °С ÷ +50 °С |
| Температура вкл./откл. обогрева | 20 °С / 25 °С |
| Температура холодного запуска откл./вкл. | -10 °С / -5 °С |
| Влажность воздуха | до 100 % при +25 °С |
| Вес с упаковкой (не более) | 3,5 кг |
| Режим работы | круглосуточный |

