Стойка для считывателя Аякс 150х150 мм, черная, Базовая, Прямая
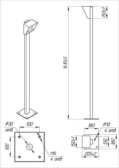
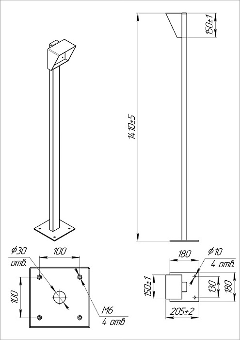
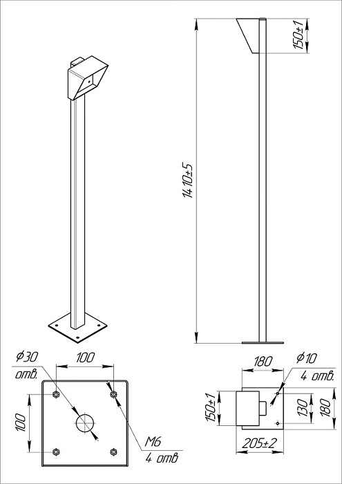
Прямая стойка для считывателя, высота 1270 мм, труба 30х60 мм, защитный кожух 150х150мм с диэлектрической пластиной, основание 180х180 мм, электрический клеммник, закладная пластина для бетонирования + комплект оцинкованного крепежа
Производитель: Магнито-Контакт
- Код:
- 00057690
- Артикул
- 16-0027-0005
- Базовая единица
- шт
- Доступность:
- заказная
7 513.40 руб.
Стойка для считывателя Аякс 150х150 мм, черная, Базовая, прямая (арт. 16-0027-0005)
- Устойчивость к морозам и перегревам
- Устойчивость к ультрафиолету
- Двухслойное порошковое покрытие (цинковый грунт + основной цвет)
Предназначена для монтажа оборудования систем контроля и управления доступом, при организации контрольно-пропускных систем. Стойка прямая. Оснащена головной частью (защитным кожухом) четырех типоразмеров и крепежной площадкой.
Стойка выполнена из профильной трубы черного металла с защитным покрытием (окраской) черного цвета.
- Стойка поставляется в комплектации «Базовая» (под бетонирование)
- Высота, мм 1410
Технические характеристики
| Температура эксплуатации | от -80 до +250°С |
| Масса | не более 7 кг |
| Срок службы | не менее 8 лет |

